2.6 离散时间与连续时间系统的关系及采样定理
2.6 离散时间系统与连续时间系统之间的关系 (THE RELATIONSHIP BETWEEN DISCRETE-TIME AND CONTINUOUS-TIME SYSTEMS)
在无线通信领域,连续时间信号与其采样值之间的关系至关重要。由于天线及电磁波传播环境本质上处于连续时间域,因此信息在收发信机之间的传输必须依赖连续时间信号。现代接收机大多会对接收信号进行采样,并利用采样值恢复原始数据。然而,我们绝不能忽略一个事实:采样值实质上对应的是连续时间信号。噪声、时延、相移以及各类畸变均产生于连续时间域。若想通过离散时间处理来补偿这些物理层损伤(impairments),就必须透彻理解信号及其损伤是如何转化到离散时间域的。
对于带限(bandlimited)连续时间信号和系统,存在精确的离散时间表示方式。这种数学关系由 2.6.1 节讨论的采样定理给出。若需在离散时间域实现连续时间功能,可以采用 2.6.2 节所述的方法,即将带限系统的连续时间傅里叶变换与其对应的离散时间傅里叶变换进行匹配。
2.6.1 采样定理 (The Sampling Theorem)
采样定理指出:对于一个带限连续时间信号 xc(t)x _ { c } ( t )xc(t),若其傅里叶变换在 ω>W\omega > Wω>W 时为零,则只要样本间距 TTT 满足以下条件,该信号即可由其 TTT 间隔样本 xc(nT)x _ { c } ( n T )xc(nT) 唯一确定:
2πT>2W.(2.66) \frac {2 \pi}{T} > 2 W. \tag {2.66} T2π>2W.(2.66)
样本 xc(nT)x _ { c } ( n T )xc(nT) 与连续时间波形 xc(t)x _ { c } ( t )xc(t) 之间的关系如下:
xc(t)=WTπ∑n=−∞∞xc(nT)sin(W(t−nT))W(t−nT).(2.67) x _ {c} (t) = \frac {W T}{\pi} \sum_ {n = - \infty} ^ {\infty} x _ {c} (n T) \frac {\sin (W (t - n T))}{W (t - n T)}. \tag {2.67} xc(t)=πWTn=−∞∑∞xc(nT)W(t−nT)sin(W(t−nT)).(2.67)
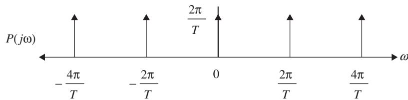
推导这一结果的关键,在于建立 xc(t)x _ { c } ( t )xc(t) 及其样本 xc(nT)x _ { c } ( n T )xc(nT) 之间的联系。这种联系基于脉冲采样(impulse sampling)模型。如图 2.6.1 所示,脉冲采样将 x(t)x ( t )x(t) 的采样过程表示为 x(t)x ( t )x(t) 与脉冲序列 p(t)p ( t )p(t) 的乘积。该脉冲序列及其傅里叶变换分别由下式给出:
p(t)=∑n=−∞∞δ(t−nT)(2.68) p (t) = \sum_ {n = - \infty} ^ {\infty} \delta (t - n T) \tag {2.68} p(t)=n=−∞∑∞δ(t−nT)(2.68)
P(jω)=2πT∑k=−∞∞δ(ω−k2πT),(2.69) P (j \omega) = \frac {2 \pi}{T} \sum_ {k = - \infty} ^ {\infty} \delta \left(\omega - k \frac {2 \pi}{T}\right), \tag {2.69} P(jω)=T2πk=−∞∑∞δ(ω−kT2π),(2.69)
对应的示意图见图 2.6.1。由于单位脉冲函数 δ(t)\delta ( t )δ(t) 仅在 t=0t = 0t=0 时不为零,因此乘积信号 xp(t)=xc(t)p(t)x _ { p } ( t ) = x _ { c } ( t ) p ( t )xp(t)=xc(t)p(t) 可表示为:
xp(t)=∑n=−∞∞xc(nT)δ(t−nT)(2.70) x _ {p} (t) = \sum_ {n = - \infty} ^ {\infty} x _ {c} (n T) \delta (t - n T) \tag {2.70} xp(t)=n=−∞∑∞xc(nT)δ(t−nT)(2.70)
在该求和项中,每个脉冲的强度(权重)对应采样值,而脉冲的时延则代表了采样时刻。
通过直接分析 xp(t)x _ { p } ( t )xp(t) 的傅里叶变换,即可推导出采样定理。利用傅里叶变换的卷积性质,xp(t)x _ { p } ( t )xp(t) 的傅里叶变换可表示为:
Xp(jω)=12π∫−∞∞Xc(ju)P(j(ω−u))du(2.71)=T∑k=−∞∞Xc(ω−k2πT).(2.72) \begin{array}{l} X _ {p} (j \omega) = \frac {1}{2 \pi} \int_ {- \infty} ^ {\infty} X _ {c} (j u) P (j (\omega - u)) d u (2.71) \\ = T \sum_ {k = - \infty} ^ {\infty} X _ {c} \left(\omega - k \frac {2 \pi}{T}\right). (2.72) \\ \end{array} Xp(jω)=2π1∫−∞∞Xc(ju)P(j(ω−u))du(2.71)=T∑k=−∞∞Xc(ω−kT2π).(2.72)

p(t)=∑n=−∞∞δ(t−nT) p (t) = \sum_ {n = - \infty} ^ {\infty} \delta (t - n T) p(t)=n=−∞∑∞δ(t−nT)






图 2.6.1 产生带限连续时间信号T间隔采样的系统
图 2.6.1 底部给出了乘积信号 xp(t)x _ { p } ( t )xp(t) 及其傅里叶变换 Xp(jω)X _ { p } ( j \omega )Xp(jω)。显而易见,只要满足下述条件,即可从 Xp(jω)X _ { p } ( j \omega )Xp(jω) 中复原 Xc(jω)X _ { c } ( j \omega )Xc(jω):
W<2πT−W.(2.73) W < \frac {2 \pi}{T} - W. \tag {2.73} W<T2π−W.(2.73)
条件 (2.66) 正是基于此观察结果。若满足采样定理,则可通过理想低通滤波器从 xp(t)x _ { p } ( t )xp(t) 中恢复 xc(t)x _ { c } ( t )xc(t)。该滤波器的通带为 ∣ω∣≤W| \omega | \le W∣ω∣≤W,过渡带为 W<∣ω∣<2πT−WW < | \omega | < \frac { 2 \pi } { T } - WW<∣ω∣<T2π−W,阻带为 ∣ω∣>2πT−W| \omega | > \frac { 2 \pi } { T } - W∣ω∣>T2π−W。如图 2.6.2 所示,这种理想低通滤波器的带宽为 W rad/s,幅度为 TTT。其单位冲激响应为:
h(t)=WTπsin(Wt)Wt.(2.74) h (t) = \frac {W T}{\pi} \frac {\sin (W t)}{W t}. \tag {2.74} h(t)=πWTWtsin(Wt).(2.74)
将 xp(t)x _ { p } ( t )xp(t) 与 h(t)h ( t )h(t) 进行卷积,即可得到式 (2.67) 的结果。
xc(t)x _ { c } ( t )xc(t) 的 TTT 间隔样本产生了一个离散时间序列 xd(n)=xc(nT)x _ { d } ( n ) = x _ { c } ( n T )xd(n)=xc(nT)。在数字通信中,深入理解 xd(n)x _ { d } ( n )xd(n) 的 DTFT 与 xc(t)x _ { c } ( t )xc(t) 傅里叶变换之间的关系,对于离散时间处理器的分析与设计具有根本性的意义。首先建立 Xd(ejΩ)X _ { d } ( e ^ { j \Omega } )Xd(ejΩ) 与 Xp(jω)X _ { p } ( j \omega )Xp(jω) 之间的关系,随后结合式 (2.72),即可导出 Xd(ejΩ)X _ { d } ( e ^ { j \Omega } )Xd(ejΩ) 与 Xc(jω)X _ { c } ( j \omega )Xc(jω) 之间的联系。
对式 (2.70) 直接进行傅里叶变换,可得到 Xp(jω)X _ { p } ( j \omega )Xp(jω) 的另一种表达式:
Xp(jω)=∫−∞∞∑n=−∞∞xc(nT)δ(t−nT)e−jωtdt=∑n=−∞∞xc(nT)e−jωTn.(2.75) \begin{array}{l} X _ {p} (j \omega) = \int_ {- \infty} ^ {\infty} \sum_ {n = - \infty} ^ {\infty} x _ {c} (n T) \delta (t - n T) e ^ {- j \omega t} d t \\ = \sum_ {n = - \infty} ^ {\infty} x _ {c} (n T) e ^ {- j \omega T n}. \tag {2.75} \\ \end{array} Xp(jω)=∫−∞∞∑n=−∞∞xc(nT)δ(t−nT)e−jωtdt=∑n=−∞∞xc(nT)e−jωTn.(2.75)
离散时间序列 xd(n)=xc(nT)x _ { d } ( n ) = x _ { c } ( n T )xd(n)=xc(nT) 的 DTFT 定义为:
Xd(ejΩ)=∑n=−∞∞xc(nT)e−jΩn.(2.76) X _ {d} \left(e ^ {j \Omega}\right) = \sum_ {n = - \infty} ^ {\infty} x _ {c} (n T) e ^ {- j \Omega n}. \tag {2.76} Xd(ejΩ)=n=−∞∑∞xc(nT)e−jΩn.(2.76)
观察可知,变换式 (2.75) 与 (2.76) 的形式完全一致,它们定义了连续时间傅里叶变换频率变量与离散时间傅里叶变换频率变量之间的映射关系:
Ω=ωT.(2.77) \Omega = \omega T. \tag {2.77} Ω=ωT.(2.77)
基于此关系将 (2.75) 与 (2.76) 等同,可得中间结果:
Xd(ejΩ)=Xp(jΩT).(2.78) X _ {d} \left(e ^ {j \Omega}\right) = X _ {p} \left(j \frac {\Omega}{T}\right). \tag {2.78} Xd(ejΩ)=Xp(jTΩ).(2.78)







图 2.6.2 利用理想低通滤波器由采样信号恢复带限连续时间信号
将式 (2.72) 代入 Xp(jω)X _ { p } ( j \omega )Xp(jω) 的表达式,即可得到最终结果:
Xd(ejΩ)=1T∑k=−∞∞Xc(j(Ω−k2πT)).(2.79) X _ {d} \left(e ^ {j \Omega}\right) = \frac {1}{T} \sum_ {k = - \infty} ^ {\infty} X _ {c} \left(j \left(\frac {\Omega - k 2 \pi}{T}\right)\right). \tag {2.79} Xd(ejΩ)=T1k=−∞∑∞Xc(j(TΩ−k2π)).(2.79)
这里有两点重要结论:
• Xd(ejΩ)X _ { d } ( e ^ { j \Omega } )Xd(ejΩ) 关于 Ω\OmegaΩ 是周期的,周期为 2π2 \pi2π。此前在 z 变换沿单位圆评估时已有类似发现,而在此处,这一特性是由于 Xp(jω)X _ { p } ( j \omega )Xp(jω) 的周期性所致。Xp(jω)X _ { p } ( j \omega )Xp(jω) 具有周期性,本质上是因为它是离散时间序列 xc(nT)x _ { c } ( n T )xc(nT) 的傅里叶变换。
• Xd(ejΩ)X _ { d } ( e ^ { j \Omega } )Xd(ejΩ) 可看作是 Xc(jω)X _ { c } ( j \omega )Xc(jω) 经周期延拓及幅度缩放后的结果。由于在采样过程中发生了归一化,因此会产生频率轴缩放。若 xc(t)x _ { c } ( t )xc(t) 满足采样定理规定的带宽限制,则在区间 −π≤Ω≤π-\pi \leq \Omega \leq \pi−π≤Ω≤π 内,经频率轴缩放后的 Xc(jω)X _ { c } ( j \omega )Xc(jω) 与 Xd(ejΩ)X _ { d } ( e ^ { j \Omega } )Xd(ejΩ) 是相同的。具体等式如下:
Xd(ejΩ)=1TXc(jΩT)−π≤Ω≤π.(2.80) X _ {d} \left(e ^ {j \Omega}\right) = \frac {1}{T} X _ {c} \left(j \frac {\Omega}{T}\right) \quad -\pi \leq \Omega \leq \pi . \tag {2.80} Xd(ejΩ)=T1Xc(jTΩ)−π≤Ω≤π.(2.80)
下述两个示例展示了这些重要的特性。
示例 2.6.1 (Example 2.6.1)
基带信号采样 (Sampling a Baseband Signal)
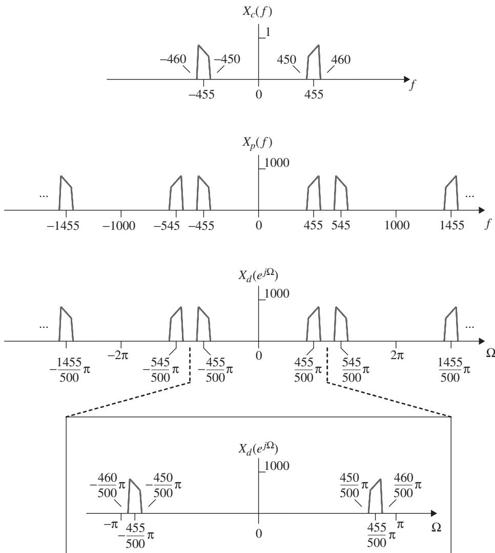
为了说明采样定理以及离散时间序列 DTFT 的特性,考虑一个带限基带信号 xc(t)x _ { c } ( t )xc(t),其傅里叶变换 Xc(f)X _ { c } ( f )Xc(f) 如图 2.6.3 顶部所示。该信号带宽为 3Hz3 \mathrm { H z }3Hz。根据采样定理,无失真采样的最低采样率为 6 samples/s。假设采样率设为 8 samples/s。中间信号 xp(t)x _ { p } ( t )xp(t) 的傅里叶变换如图 2.6.3 第二幅图所示。可以观察到,Xp(jω)X _ { p } ( j \omega )Xp(jω) 由以采样率为周期的 Xc(jΩ)X _ { c } ( j \Omega )Xc(jΩ) 副本组成。应用频率轴缩放 (2.77) 后,得到第三幅图所示的 DTFT Xd(ejΩ)X _ { d } ( e ^ { j \Omega } )Xd(ejΩ)。如预期所示,其关于 Ω\OmegaΩ 的周期为 2π2 \pi2π,带宽为 3π/43 \pi / 43π/4 rad/sample。图 2.6.3 底部展示了 Xd(ejΩ)X _ { d } ( e ^ { j \Omega } )Xd(ejΩ) 在 −π≤Ω≤π-\pi \leq \Omega \leq \pi−π≤Ω≤π 区间的细节。可以看到,采样信号的带宽等于 xc(t)x _ { c } ( t )xc(t) 的带宽与采样率之比:
BW=2π×38=3π4r a d / s a m p l e.(2.81) \mathrm {B W} = 2 \pi \times \frac {3}{8} = \frac {3 \pi}{4} \quad \text {r a d / s a m p l e}. \tag {2.81} BW=2π×83=43πr a d / s a m p l e.(2.81)
示例 2.6.2 (Example 2.6.2)
带通信号采样 (Sampling a Band-pass Signal)
尽管采样定理及 DTFT 与傅里叶变换的关系最初是针对基带信号推导的,但同样的原理也完全适用于带通信号。

图 2.6.3 基带信号采样相关的频谱。(a) 连续时间信号 xc(t)x _ { c } ( t )xc(t) 的傅里叶变换;(b) 中间信号 xp(t)x _ { p } ( t )xp(t) 的傅里叶变换;© 序列 xd(n)=xc(nT)x _ { d } ( n ) = x _ { c } ( n T )xd(n)=xc(nT) 的 DTFT;(d) © 在区间 −π≤Ω≤π- \pi \leq \Omega \leq \pi−π≤Ω≤π 的放大图。
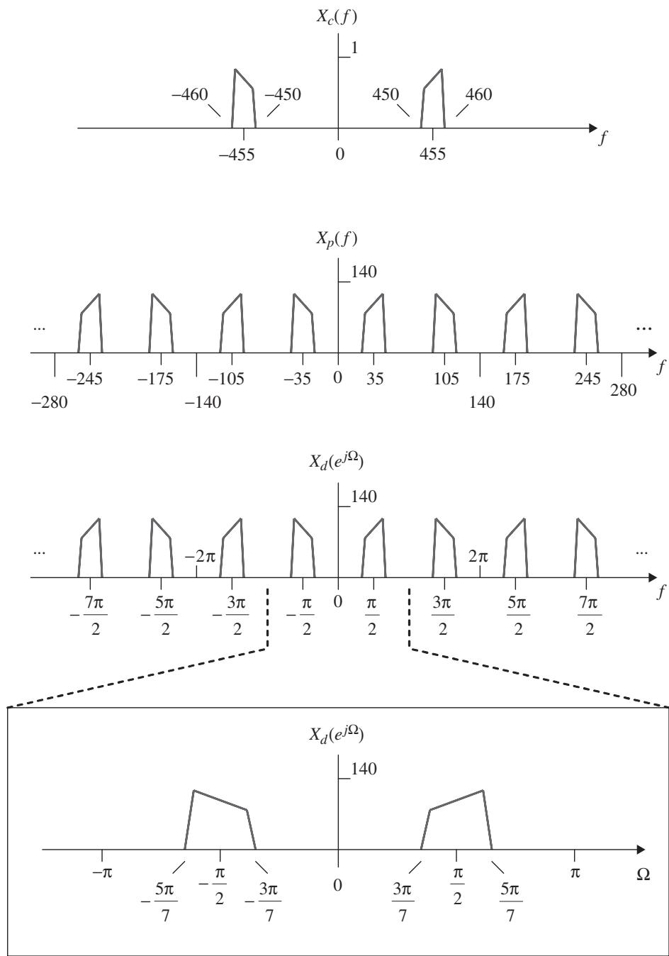
理解的关键在于如何正确构造中间信号 xp(t)x _ { p } ( t )xp(t) 的傅里叶变换。以图 2.6.4 顶部的带通信号为例,其傅里叶变换 Xc(f)X _ { c } ( f )Xc(f) 以 455Hz455 \mathrm { H z }455Hz 为中心,带宽为 10Hz10 \mathrm { H z }10Hz。若机械地套用采样定理,可能会认为最高频率分量为 460Hz460 \mathrm { H z }460Hz,从而采用大于 2×460=9202 \times 460 = 9202×460=920 samples/s 的采样率。假设采样率为 1000 samples/s,根据式 (2.75),中间信号的傅里叶变换 Xp(f)X _ { p } ( f )Xp(f) 由间隔为 1000Hz1000 \mathrm { H z }1000Hz 的 Xc(f)X _ { c } ( f )Xc(f) 周期副本组成,如图 2.6.4 第二幅图所示。注意,虽然频谱是周期的,但与基带信号不同,在采样率的整数倍频率处并没有频谱成分。应用频率缩放 (2.77) 得到图 2.6.4 第三幅图所示的 DTFT Xd(ejΩ)X _ { d } ( e ^ { j \Omega } )Xd(ejΩ),其关于 Ω\OmegaΩ 的周期如预期般为 2π2 \pi2π。底部放大图显示,Xd(ejΩ)X _ { d } ( e ^ { j \Omega } )Xd(ejΩ) 在 −π≤Ω≤π-\pi \leq \Omega \leq \pi−π≤Ω≤π 区间内依然是带通信号,中心频率为 Ωc = 455π/500\Omega _ { c } ~ = ~ 4 5 5 \pi / 5 0 0Ωc = 455π/500 rad/sample,带宽为 460π500−4^50π500=π50\begin{array} { r } { \frac { 4 6 0 \pi } { 5 0 0 } - \frac { \hat { 4 } 5 0 \pi } { 5 0 0 } = \frac { \pi } { 5 0 } } \end{array}500460π−5004^50π=50π rad/sample。在此有两个核心特征:首先,中心频率 Ωc\Omega _ { c }Ωc 由连续时间中心频率与采样率的比值决定:
Ωc=2π×4551000=455500π.(2.82) \Omega_ {c} = 2 \pi \times \frac {4 5 5}{1 0 0 0} = \frac {4 5 5}{5 0 0} \pi . \tag {2.82} Ωc=2π×1000455=500455π.(2.82)
(注:这并非普遍规律,下文会详细说明。)其次,带宽同样由 xc(t)x _ { c } ( t )xc(t) 的带宽与采样率的比值确定:
BW=2π×101000=π50.(2.83) \mathrm {B W} = 2 \pi \times \frac {1 0}{1 0 0 0} = \frac {\pi}{5 0}. \tag {2.83} BW=2π×100010=50π.(2.83)
(注:这一规律通常具有普遍性。)
极小的带宽表明信号处于严重过采样状态,这暗示可以使用更低的采样率。理论上,任何不会导致 Xp(jω)X _ { p } ( j \omega )Xp(jω) 频谱副本发生混叠的采样率都是可行的。显然采样率必须大于 10 samples/s(即带通信号的带宽),但即便采样率大于 10 samples/s,若选择不当仍可能发生混叠。因此,带通信号的采样率不仅取决于连续时间信号的带宽,还取决于中心频率。
图 2.6.5 展示了采用更低采样率(140 samples/s)的第二个案例。中间信号的傅里叶变换 Xp(jω)X _ { p } ( j \omega )Xp(jω) 的构造方法同前,即每隔 140Hz140 \mathrm { H z }140Hz 放置一个 Xc(jω)X _ { c } ( j \omega )Xc(jω) 副本。部分 Xp(jω)X _ { p } ( j \omega )Xp(jω) 如图 2.6.5 第二幅图所示。应用频率缩放后得到第三幅图所示的 DTFT Xd(ejΩ)X _ { d } ( e ^ { j \Omega } )Xd(ejΩ)。

图 2.6.4 带通信号采样相关的频谱。(a) 连续时间信号 xc(t)x _ { c } ( t )xc(t) 的傅里叶变换;(b) 中间信号 xp(t)x _ { p } ( t )xp(t) 的傅里叶变换;© 序列 xd(n)=xc(nT)x _ { d } ( n ) = x _ { c } ( n T )xd(n)=xc(nT) 的 DTFT;(d) © 在区间 −π≤Ω≤π- \pi \leq \Omega \leq \pi−π≤Ω≤π 的放大图。
由图 2.6.5 底部可知,Xd(ejΩ)X _ { d } ( e ^ { j \Omega } )Xd(ejΩ) 为带通信号,中心频率为 Ωc=π2\Omega _ { c } = \textstyle { \frac { \pi } { 2 } }Ωc=2π rad/sample,带宽为 4π7−3π7=\begin{array} { r } { \frac { 4 \pi } { 7 } - \frac { 3 \pi } { 7 } = } \end{array}74π−73π= π7\frac { \pi } { 7 }7π rad/sample。注意,此时中心频率不再是由简单的频率比值决定,而是由其模(modulo)2π2 \pi2π 之后的值决定:

图 2.6.5 带通信号采样相关的频谱(较低采样率)。(a) 连续时间信号 xc(t)x _ { c } ( t )xc(t) 的傅里叶变换;(b) 中间信号 xp(t)x _ { p } ( t )xp(t) 的傅里叶变换;© 序列 xd(n)=xc(nT)x _ { d } ( n ) = x _ { c } ( n T )xd(n)=xc(nT) 的 DTFT;(d) © 在区间 −π≤Ω≤π- \pi \leq \Omega \leq \pi−π≤Ω≤π 的放大图。
Ωc=(2π×455140)(mod2π)=(13π2)(mod2π)=π2.(2.84) \Omega_ {c} = \left(2 \pi \times \frac {4 5 5}{1 4 0}\right) \quad (\mathrm {m o d} 2 \pi) = \left(\frac {1 3 \pi}{2}\right) \quad (\mathrm {m o d} 2 \pi) = \frac {\pi}{2}. \tag {2.84} Ωc=(2π×140455)(mod2π)=(213π)(mod2π)=2π.(2.84)
而带宽依然由 xc(t)x _ { c } ( t )xc(t) 带宽与采样率的比值确定:
BW=2π×10140=π7.(2.85) \mathrm {B W} = 2 \pi \times \frac {1 0}{1 4 0} = \frac {\pi}{7}. \tag {2.85} BW=2π×14010=7π.(2.85)
练习 2.92-2.94 进一步探讨了该信号可采用的其他采样率。
2.6.2 连续时间信号的离散时间处理 (Discrete-Time Processing of Continuous-Time Signals)
基于采样定理以及采样前后频谱关系的建立,我们现在可以研究连续时间信号的离散时间处理技术。该技术最典型的应用是设计一个等效的离散时间系统,以实现连续时间频域中定义的功能。通过使离散时间系统的 DTFT 等于连续时间系统的傅里叶变换,即可将连续时间系统的传递函数转化为等效的离散时间系统传递函数。
假设带限信号 xc(t)x _ { c } ( t )xc(t) 的采样与离散时间处理流程如图 2.6.6 所示。正确的设计不仅需要理解 xc(t)x _ { c } ( t )xc(t) 与其样本 xc(nT)x _ { c } ( n T )xc(nT) 之间的映射关系,还要掌握傅里叶变换 Xc(jω)X _ { c } ( j \omega )Xc(jω) 与 DTFT Xd(ejΩ)X _ { d } ( e ^ { j \Omega } )Xd(ejΩ) 之间的频域联系。前者由采样定理定义,后者则由式 (2.80) 给出。
通常,所需的处理功能在连续时间频域中以传递函数 Hc(jΩ)H _ { c } ( j \Omega )Hc(jΩ) 的形式描述。若要利用图 2.6.7 所示的系统实现等效功能,必须明确 Hc(jΩ)H _ { c } ( j \Omega )Hc(jΩ) 与由 Hd(ejΩ)H _ { d } ( e ^ { j \Omega } )Hd(ejΩ) 定义的离散时间 LTI 系统之间的关系。根据式 (2.80) 的启发,系统等效关系为:
Hd(ejΩ)=Hc(jΩT)−π≤Ω≤π.(2.86) H _ {d} \left(e ^ {j \Omega}\right) = H _ {c} \left(j \frac {\Omega}{T}\right) \quad -\pi \leq \Omega \leq \pi . \tag {2.86} Hd(ejΩ)=Hc(jTΩ)−π≤Ω≤π.(2.86)
相应地,图 2.6.7 顶部所示的整体处理过程也可以通过离散时间系统的传递函数表示为:
Hc(jω)={Hd(ejωT)∣ω∣≤πT0其他 (otherwise).(2.87) H _ {c} (j \omega) = \left\{ \begin{array}{l l} H _ {d} \left(e ^ {j \omega T}\right) & | \omega | \leq \frac {\pi}{T} \\ 0 & \text {其他 (otherwise)} \end{array} . \right. \tag {2.87} Hc(jω)={Hd(ejωT)0∣ω∣≤Tπ其他 (otherwise).(2.87)
下述示例将展示这些核心理念的应用。

图 2.6.6 对连续时间信号进行离散时间处理的系统

图 2.6.7 功能等效的两个线性系统。上方为作用于连续时间输入信号的连续时间线性时不变系统;下方为作用于连续时间输入信号采样值的离散时间线性移不变系统。
示例 2.6.3 (Example 2.6.3)
离散时间低通滤波器 (Discrete-Time Low-Pass Filter)
以低通滤波器设计为例。假设需要利用带宽为 W rad/s 的理想低通滤波器对 x(t)x ( t )x(t) 进行滤波,如图 2.6.8 所示。

图 2.6.8 连续时间低通滤波器(上方)及等效离散时间低通滤波器(下方)
我们的目标是通过离散时间处理实现这一功能。为此,首先利用 ADC 以 1/T1 / T1/T samples/s 的速率对 x(t)x ( t )x(t) 进行采样,得到序列 x(nT)x ( n T )x(nT)。随后,利用 DTFT 为 Hd(ejΩ)H _ { d } \left( e ^ { j \Omega } \right)Hd(ejΩ) 的离散时间低通滤波器处理该序列,输出样本序列 y(nT)y ( n T )y(nT)。最后,由 DAC 将样本序列 y(nT)y ( n T )y(nT) 还原为连续时间波形 y(t)y ( t )y(t)。基于式 (2.86) 对 H(jω)H ( j \omega )H(jω) 进行映射,即可得到图 2.6.8 底部所示的离散时间滤波器设计要求。
先利用 ADC 以 1/T1 / T1/T samples/s 的速率对 x(t)x ( t )x(t) 进行采样,得到序列 x(nT)x ( n T )x(nT)。随后,利用 DTFT 为 Hd(ejΩ)H _ { d } \left( e ^ { j \Omega } \right)Hd(ejΩ) 的离散时间低通滤波器处理该序列,输出样本序列 y(nT)y ( n T )y(nT)。最后,由 DAC 将样本序列 y(nT)y ( n T )y(nT) 还原为连续时间波形 y(t)y ( t )y(t)。基于式 (2.86) 对 H(jω)H ( j \omega )H(jω) 进行映射,即可得到图 2.6.8 底部所示的离散时间滤波器设计要求。
这次我用GLM5.1翻译,有兴趣的:我在使用GLM Coding Plan,数小时内完成过去需要数周的开发工作,赠送你1张7天AI Coding体验卡,一起来用吧:https://open.bigmodel.cn/activity/trial-card/4GYLH4UGIH[破涕为笑],给我加点token
AtomGit 是由开放原子开源基金会联合 CSDN 等生态伙伴共同推出的新一代开源与人工智能协作平台。平台坚持“开放、中立、公益”的理念,把代码托管、模型共享、数据集托管、智能体开发体验和算力服务整合在一起,为开发者提供从开发、训练到部署的一站式体验。
更多推荐



所有评论(0)