毕设程序java校园订餐系统 高校智慧餐饮服务平台的设计与实现 基于SpringBoot的校园在线点餐与配送管理系统
毕设程序java校园订餐系统3577jnbc(配套有源码 程序 mysql数据库 论文)
本套源码可以在文本联xi,先看具体系统功能演示视频领取,可分享源码参考。
随着移动互联网技术的飞速发展和智能终端设备的普及,高校餐饮服务正经历着深刻的数字化变革。传统的校园食堂就餐模式普遍存在排队时间长、高峰期拥挤、信息不对称、食物浪费严重等问题,已难以满足当代大学生对高效、便捷用餐体验的需求。与此同时,外卖行业的蓬勃发展也促使校园餐饮管理必须向线上化、智能化方向转型,构建集食堂预订、外卖点餐、信息交流于一体的综合性服务平台成为提升校园生活品质的重要课题。
本文档详细阐述了一套基于SpringBoot框架、采用B/S架构、结合Vue前端技术与MySQL数据库的校园订餐系统的设计与实现过程。系统涵盖用户注册登录、外卖美食浏览与购买、食堂菜品预订、论坛交流、公告资讯查看、购物车管理、个人中心信息管理等功能模块,同时为管理员、食堂工作人员和商家提供后台管理入口,实现用户管理、食堂管理、商家管理、美食分类管理、订单管理、菜品预订审核等核心业务功能。
系统功能清单:
-
用户注册与登录
-
首页信息展示与导航
-
外卖美食浏览、搜索、详情查看
-
外卖美食加入购物车、立即购买、收藏、评论
-
食堂菜品浏览、搜索、详情查看
-
食堂菜品预订、收藏、评论
-
论坛交流帖子发布与浏览
-
公告资讯查看
-
购物车管理
-
个人中心信息更新
-
修改密码
-
我的发布(论坛帖子)
-
我的订单查询与管理
-
我的地址管理
-
我的收藏
-
用户管理(增删改查)
-
食堂管理(员工信息维护)
-
商家管理(入驻审核与信息维护)
-
美食分类管理
-
外卖美食管理(菜品上下架、库存维护)
-
食堂菜品管理(菜品发布、数量维护)
-
菜品预订管理(预订审核与状态更新)
-
论坛交流管理(帖子审核与维护)
-
系统管理(公告资讯、关于我们、系统简介配置)
-
订单管理(订单查询、状态跟踪)
本系统通过分层架构设计实现了前后端分离,采用RESTful API进行数据交互,结合Token机制保障接口安全,运用E-R图进行数据库概念建模,覆盖校园餐饮服务的全场景需求,旨在为高校师生提供便捷高效的线上订餐体验,助力校园信息化建设。
注:以上是纯课题毕业设计功能介绍,并非实际开发完成,最终开发完成的毕业设计程序以下面的的环境软件、功能图和界面为准。
系统所需要的环境软件:idea、eclipse+mysql5.7、8.0+Navicat+JDK1.8+tomcat7.0
3.1可行性研究
通过对系统研究目标及内容的分析审察后,提出可行性方案,并对其进行论述。主要从技术可行性出发,再进一步分析经济可行性和环境运行可行性分析、法律可行性分析等方面[8]。
3.1.1技术可行性分析
技术可行性分析基于现在web水平、软硬件水平能否开发出校园订餐系统,经过对市面常见校园订餐系统了解研究对比,以及此次校园订餐系统的估测,预计在技术方面开发本校园订餐系统是可行的。第一,JAVA技术发展成熟且市面十分流行,由JAVA完成本校园订餐系统的开发、调试,结合市面成熟的集成开发软件辅助开发,且本电脑配置win10系统,足够满足本次校园订餐系统开发。第二,验证技术发展迅速,使得本校园订餐系统安全性很高。综上所诉,开发本校园订餐系统完全可行[9]。
3.1.2 经济可行性分析
经济可行性分析,就是分析在现有经济情况下能否完成本校园订餐系统的开发。下面对本系统开发、运行、维护的相关费用评估,以及投入到社会完成校园订餐管理可能费用进行估算。网络资源丰富,本校园订餐系统只需使用任选一开源服务器即可,此方面无需投入费用。开发阶段,由于本校园订餐系统不属于大型系统,常规的电脑就可完成开发,不用购置相关硬件设备。软件方面,本校园订餐系统只需使用网上免费下载的软件即可完成开发,这些软件在使用时简单易懂,无需培训,因此此方面也无需投入费用。由于本校园订餐系统不属于大型系统,运行时候电费可以忽略不记。校园订餐系统作为自己毕设,由本人开发即可完成,无需人力费用。综上,整个系统开发花费很少,所以本校园订餐系统在经济上可行[10]。
3.1.3 环境运行可行性分析
软件在能否在客户端使用并发挥效益的制约关键就是运行环境。计算机普及,现在人们接触各类系统频繁,日常生活使用计算机无障碍。并且该校园订餐系统页面简单,通过显示页面引导即可完成本校园订餐系统删除、增加、修改等功能。对计算机要求低,门槛低,通过常用浏览器即可使用本校园订餐系统。因此在运行环境方面,本校园订餐系统易于接受,是可行的[11]。
3.1.4 法律可行性分析
法律可行性分析,即分析本校园订餐系统是否与各类法律相悖。本校园订餐系统使用市面开源免费软件开发,且作为个人毕设,无商用,均为本人自主开发,并且页面设计合理,发布的信息要求符合常规。整个系统无抵触法律法规的问题。因此在法律上,本校园订餐系统可行[12]。
3.2系统用例图
用例图,即以用户视角来描述本校园订餐系统的功能,前面已经分析了本校园订餐系统的总体设计,讨论了各个方面的需求。下面,将以管理员、用户、食堂和商家为例。
管理员的用例图,如图3-1所示。

图3-1管理员用例图
食堂的用例图,如图3-2所示。

图3-2 食堂用例图
商家的用例图,如图3-3所示。

图3-3商家用例图
用户的用例图,如图3-4所示。

图3-4用户用例图
3.3系统流程设计
3.3.1 系统开发流程
校园订餐系统的设计和开发,首先要对用户的实际使用需求和具体情况进行细致的分析,分析出系统要完成的全部功能,然后再针对整个系统的工作流程和功能进行设计,力求每个模块都能够达到用户的要求,最后通过测试来解决问题,保证系统的稳定和正常的运转,本系统的开发流程如图3-5所示。

图3-5系统开发流程图
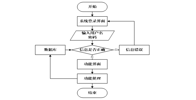
3.3.2 用户登录流程
登录流程实现了管理员和其他用户的登录,在登录页面需要用户填写自己的信息,前端页面会将信息传递给后端接口,然后查询数据库确定该身份有效后登录成功,否则此用户登录失败,需要重新填写信息,进行再次验证,如图3-6所示。

图3-6登录流程图
3.3.3 系统操作流程
系统操作流程分析是软件开发过程中的一个关键环节,它是整个系统整体的运行过程,必须保证其中的每一个步骤都是确定的,这样一个规范的流程图可以使开发者易于理解,快速的投入到接口开发中,从而提升系统开发效率。
同时,流程图还能减少开发者对系统操作流程产生歧义和降低沟通的成本,系统操作流程如图3-7所示。

图3-7系统操作流程图
3.3.4 添加信息流程
系统的正常运行离不开数据的支撑,因此,在本系统中添加了数据插入功能,数据库中数据的缺失,会直接影响到数据的查询结果,查询结果错误又会导致逻辑处理出现偏差,最终导致系统性错误或故障,所以在对系统进行数据添加操作时,必须要对数据进行合法性校验,确定此条数据是否有惟一的主关键字和字段是否允许为空等等,若数据库表中不允许某字段为空,而程序没有进行该字段非空逻辑校验,那么就会出现数据存储失败,可能因此造成严重系统后果。添加信息流程如图3-8所示。

图3-8添加信息流程图
3.3.5 修改信息流程
因为使系统的使用者是人,所以难免会有疏忽,从而造成系统输入的信息有误。或者由于其他原因导致数据发生改变,使得必须对系统内的数据进行相应的调整,所以在程序运行中,数据的修改操作是不可缺少的重要环节。
在进行数据更新时,必须要有一个惟一的主关键字,以便数据库能够查询到相应的数据;另外,还必须遵守数据插入过程的操作规范,以确保数据的正确性。修改信息流程图如图3-9所示。

图3-9修改信息流程图
3.3.6 删除信息流程
删除操作在系统中并非是必须的,可根据用户及系统的需要来决定是否添加删除功能,删除操作就是使用delete语句将数据库中的某一匹配数据删除,因为此操作会导致用户数据丢失,所以为了避免使用者误按删除键,应在用户点击删除按钮时添加一个提示确认弹窗,当用户确定要删除时,再进行数据库的操作,并且在删除操作完成后要对用户进行反馈。删除信息流程图如图3-10所示。

图3-10 删除信息流程图
4系统设计
4.1系统功能结构图
系统功能结构图是系统设计阶段,系统功能结构图只是这个阶段一个基础,整个系统的架构决定了系统的整体模式,是系统的根据。校园订餐系统的整个设计结构如图4-1所示。

图4-1系统功能结构图
4.2系统数据库设计
对于校园订餐系统而言,数据库中最核心的数据就是信息,并且有许多其他关联数据都储存于数据库中。随着时间推移,将发布大量信息于本系统中,届时数据库中也将蕴藏海量数据。一个优秀的数据库设计方案能在保证系统能够高效处理大量数据的同时保证系统的安全性。因此,在本校园订餐系统设计方案中将数据库的设计摆在重要位置,将数据库设计视为系统设计的重要内容。
4.2.1数据库E-R图
E-R图,是通过用户的想法将一些数据形成一种关系结构,这种关系结构也可视为一种概念模型,而数据库的数据处理可以通过概念模型表现直观反映出来。由于E-R图是从用户的角度设立的模型,因此系统E-R图具有很强的实践意义。
食堂信息E-R图如图4-2所示:

图4-2食堂信息E-R图
用户信息E-R图如图4-3所示:

图4-3用户信息E-R图
商家信息E-R图如图4-4所示:

图4-4商家信息E-R图
食堂菜品E-R图如图4-5所示:

图4-5食堂菜品E-R图
校园订餐系统总体E-R图如图4-6所示:

图4-6校园订餐系统总体E-R图
5.1注册登录界面
用户需要输入正确的用户名和密码后才可以登录系统并正常使用。如果是第一次使用的新用户,应当先进行账户的注册。注册和登录的界面应当设置便捷的跳转按钮。当用户输入的信息不正确时应当进行相应的提示。如登录时输入的账户有误,应当提示用户该账户不存在。同样的,操作时应该提供积极的反馈,避免用户重复操作。如新用户注册账户时,如果注册成功应该提示“注册成功”的消息栏。
当用户成功登录后,应该进入到系统的导航界面。
登陆界面利用表单输入,点击登录按钮会将表单通过相关接口提交给后台,后台验证通过会返回用户的对应Token信息,将Token信息存储到浏览器Session Stroge中,保证浏览器可以判断用户是否未登录状态。反之,如果该用户不存在,后台会返回对应的提示信息。
注册界面由用户名,密码组成,填写完整后通过相关接口提交,后台会将该用户信息存入Mysql数据库中,建立相关的表结构,返回注册成功code。
5.2前台用户功能模块
当游客打开系统的网址后,首先看到的就是首页界面。在这里,游客能够看到校园订餐系统的导航条显示首页、外卖美食、食堂菜品、论坛交流、公告资讯、购物车、个人中心等。系统首页界面如图5-1所示:

图5-1 系统首页界面
当用户进入前台系统进行相关操作前必须先注册登录,在注册页面填写用户账号、用户姓名、密码、确认密码、头像、性别、手机号码等信息,前端将这些信息通过HTTP请求发送到Java后端。后端处理这些信息,检查用户名是否唯一,并将新用户数据存入MySQL数据库。完成后,后端向前端发送注册成功的确认,前端随后通知用户完成注册。这个过程实现了新用户的数据收集、验证和存储。用户注册界面如图5-2所示:

图5-2 用户注册界面
以下是用户注册代码:
<script> export default { data() { return { ruleForm: { }, pageFlag : '', tableName:"", rules: {}, }; }, mounted(){ this.pageFlag = this.$storage.get("pageFlag"); let table = this.$storage.get("loginTable"); this.tableName = table; }, created() { }, destroyed() { }, methods: { // 获取uuid getUUID () { return new Date().getTime(); }, close(){ this.$router.push({ path: "/login" }); }, yonghutouxiangUploadChange(fileUrls) { this.ruleForm.touxiang = fileUrls; }, // 多级联动参数 // 注册 login() { var url=this.tableName+"/register"; if((!this.ruleForm.yonghuzhanghao) && `yonghu` == this.tableName){ this.$message.error(`用户账号不能为空`); return } if((!this.ruleForm.yonghuxingming) && `yonghu` == this.tableName){ this.$message.error(`用户姓名不能为空`); return } if((!this.ruleForm.mima) && `yonghu` == this.tableName){ this.$message.error(`密码不能为空`); return } if((this.ruleForm.mima!=this.ruleForm.mima2) && `yonghu` == this.tableName){ this.$message.error(`两次密码输入不一致`); return } if(`yonghu` == this.tableName && this.ruleForm.lianxidianhua&&(!this.$validate.isMobile(this.ruleForm.lianxidianhua))){ this.$message.error(`联系电话应输入手机格式`); return } if(this.ruleForm.touxiang!=null) { this.ruleForm.touxiang = this.ruleForm.touxiang.replace(new RegExp(this.$base.url,"g"),""); } this.$http({ url: url, method: "post", data:this.ruleForm }).then(({ data }) => { if (data && data.code === 0) { this.$message({ message: "注册成功", type: "success", duration: 1500, onClose: () => { this.$router.replace({ path: "/login" }); } }); } else { this.$message.error(data.msg); } }); } } };
用户登录,用户在登录页面通过填写账号、密码,完成登录,在登录流程中,用户首先在Vue前端界面输入用户名和密码。这些信息通过HTTP请求发送到Java后端。后端接收请求,通过与MySQL数据库交互验证用户凭证。如果认证成功,后端生成一个令牌(如JWT)并返回给前端,允许用户访问系统。这个过程涵盖了从用户输入到系统验证和响应的全过程。如图5-3所示:

图5-3用户登录页面
以下是用户登录代码:
mounted() { let menus = menu.list(); this.menus = menus; for (let i = 0; i < this.menus.length; i++) { if (this.menus[i].hasBackLogin=='是') { this.roles.push(this.menus[i]) } } }, created() { this.getRandCode() }, destroyed() { }, components: { }, methods: { //注册 register(tableName){ this.$storage.set("loginTable", tableName); this.$storage.set("pageFlag", "register"); this.$router.push({path:'/register'}) }, // 登陆 login() { if (!this.rulesForm.username) { this.$message.error("请输入用户名"); return; } if (!this.rulesForm.password) { this.$message.error("请输入密码"); return; } if(this.roles.length>1) { if (!this.rulesForm.role) { this.$message.error("请选择角色"); return; } let menus = this.menus; for (let i = 0; i < menus.length; i++) { if (menus[i].roleName == this.rulesForm.role) { this.tableName = menus[i].tableName; } } } else { this.tableName = this.roles[0].tableName; this.rulesForm.role = this.roles[0].roleName; } this.$http({ url: `${this.tableName}/login?username=${this.rulesForm.username}&password=${this.rulesForm.password}`, method: "post" }).then(({ data }) => { if (data && data.code === 0) { this.$storage.set("Token", data.token); this.$storage.set("role", this.rulesForm.role); this.$storage.set("sessionTable", this.tableName); this.$storage.set("adminName", this.rulesForm.username); this.$router.replace({ path: "/index/" }); } else { this.$message.error(data.msg); } }); }, getRandCode(len = 4){ this.randomString(len) }, randomString(len = 4) { let chars = [ "a", "b", "c", "d", "e", "f", "g", "h", "i", "j", "k", "l", "m", "n", "o", "p", "q", "r", "s", "t", "u", "v", "w", "x", "y", "z", "A", "B", "C", "D", "E", "F", "G", "H", "I", "J", "K", "L", "M", "N", "O", "P", "Q", "R", "S", "T", "U", "V", "W", "X", "Y", "Z", "0", "1", "2", "3", "4", "5", "6", "7", "8", "9" ] let colors = ["0", "1", "2","3", "4", "5", "6", "7", "8", "9", "a", "b", "c", "d", "e", "f"] let sizes = ['14', '15', '16', '17', '18'] let output = []; for (let i = 0; i < len; i++) { // 随机验证码 let key = Math.floor(Math.random()*chars.length) this.codes[i].num = chars[key] // 随机验证码颜色 let code = '#' for (let j = 0; j < 6; j++) { let key = Math.floor(Math.random()*colors.length) code += colors[key] } this.codes[i].color = code // 随机验证码方向 let rotate = Math.floor(Math.random()*60) let plus = Math.floor(Math.random()*2) if(plus == 1) rotate = '-'+rotate this.codes[i].rotate = 'rotate('+rotate+'deg)' // 随机验证码字体大小 let size = Math.floor(Math.random()*sizes.length) this.codes[i].size = sizes[size]+'px' } }, } };
用户点击外卖美食,在外卖美食页面的输入栏填写美食名称、价格,进行搜索,然后还可以查看美食名称、美食分类、特色、图片、使用材料、餐别、商家账号、店铺名称、单限、库存、点击次数、评论数、价格、收藏数等信息,如有需要可以添加到购物车、立即购买、收藏或者评论等操作。如图5-4所示:

图5-4外卖美食页面
用户点击食堂菜品,在食堂菜品页面的输入栏填写菜品名称,进行搜索,然后还可以查看美食名称、美食分类、特色、图片、员工工号、员工姓名、单价、数量、评论数、收藏数等信息,如有需要可以进行菜品预订、收藏或者评论等操作。如图5-5所示:

图5-5食堂菜品页面
在个人中心页面可以输入个人详细信息,进行信息更新操作,还可以对修改密码、我的发布、我的订单、我的地址、我的收藏进行操作。如图5-6所示。

图5-6个人中心界面
5.3后台管理员功能模块
后台管理员登录,在登录页面选择需要登录的角色,在正确输入用户名和密码后,点击登录操作;如图5-7所示。

图5-7 后台管理员登录界面
管理员进入系统主页面,主要功能包括对首页、用户管理、食堂管理、商家管理、美食分类管理、外卖美食管理、食堂菜品管理、菜品预订管理、论坛交流、系统管理、订单管理、个人资料等进行操作。管理员主页面如图5-8所示:

图5-8 管理员主界面
用户信息功能在视图层(view层)进行交互,比如点击“新增”按钮或填写用户信息信息表单。这些用户信息动作被视图层捕获并作为请求发送给相应的控制器层(control1er层)。控制器接收到这些请求后,调用服务层(service层)以执行相关的业务逻辑,例如验证输入数据的有效性和与数据库的交互。服务层处理完这些逻辑后,进一步与数据访问对象层(DAO层)交互,后者负责具体的数据操作如搜索、新增、更新或删除用户信息,并将操作结果返回给控制器。最终,控制器根据这些结果更新视图层,以便用户信息功能可以看到最新的信息或相应的操作反馈。在用户信息页面的输入栏中输入用户账号进行搜索,可以查看到用户信息详细信息,并根据需要进行修改或者删除等操作;如图5-9所示:

图5-9用户管理界面
食堂功能在视图层(view层)进行交互,比如点击“新增”按钮或填写食堂信息表单。这些食堂动作被视图层捕获并作为请求发送给相应的控制器层(control1er层)。控制器接收到这些请求后,调用服务层(service层)以执行相关的业务逻辑,例如验证输入数据的有效性和与数据库的交互。服务层处理完这些逻辑后,进一步与数据访问对象层(DAO层)交互,后者负责具体的数据操作如搜索、新增、更新或删除食堂,并将操作结果返回给控制器。最终,控制器根据这些结果更新视图层,以便食堂功能可以看到最新的信息或相应的操作反馈。在食堂页面的输入栏中输入员工工号、员工姓名进行搜索,可以查看到食堂详细信息,并根据需要进行修改或者删除等操作;如图5-10所示:

图5-10景点信息界面
管理员点击商家管理:在商家管理页面,可以对商家账号、店铺名称、店铺地址、联系人、联系方式、商家图片、经营范围、收藏数等信息,进行搜索、新增或者删除商家管理等操作,如图5-11所示:

图5-11商家管理界面
管理员点击美食分类管理:在美食分类管理页面,可以对美食分类等信息,进行搜索或者新增、修改、删除美食分类等操作,如图5-12所示:

图5-12美食分类管理界面
管理员点击商家:在商家页面,可以对商家账号、商家名称、联系人、联系电话、商家地址、审核回复、审核状态、审核等信息,进行搜索或者新增、修改、删除商家信息等操作,如图5-13所示:

图5-13商家界面
管理员点击外卖美食管理:在外卖美食管理页面,可以对美食名称、美食分类、特色、图片、使用材料、餐别、商家账号、店铺名称、单限、库存、点击次数、评论数、价格、收藏数等信息,进行搜索、新增或者修改、删除外卖美食等操作,如图5-14所示:

图5-14外卖美食管理界面
管理员点击食堂菜品管理:在食堂菜品管理页面,可以对美食名称、美食分类、特色、图片、员工工号、员工姓名、单价、数量、评论数、收藏数等信息,进行搜索、修改或者删除食堂菜品等操作,如图5-15所示:

图5-15食堂菜品管理界面
源码无偿分享,文未领取
AtomGit 是由开放原子开源基金会联合 CSDN 等生态伙伴共同推出的新一代开源与人工智能协作平台。平台坚持“开放、中立、公益”的理念,把代码托管、模型共享、数据集托管、智能体开发体验和算力服务整合在一起,为开发者提供从开发、训练到部署的一站式体验。
更多推荐



所有评论(0)