vue+Element-ui实现树形组件、表格树
element
A Vue.js 2.0 UI Toolkit for Web
项目地址:https://gitcode.com/gh_mirrors/eleme/element

·
需求
要做出如下图所示的 树形表格,也就是数据之间有父子类关系的这种,可以点击展开、收缩
像上图这样的表格树
实现
1.使用树形组件
在学习树形表格之前,肯定得先搞懂普通的树形组件是怎么搞的,然后将其套到表格中就好了,请参考ElementUI官方文档中的使用方法
链接:组件 | Element
基础用法展示
也就是数据中要有 children 作为树形组件中的 子数据
学会使用普通的树形结构之后,我们再来看 怎么使用树形的表格
2.使用树形表格
下面这段话出自博客:Element-ui 表格实现树形结构表格_elementui树形表格_在奋斗的大道的博客-CSDN博客
在el-table中,支持树类型的数据的显示。当 row 中包含 children 字段时,被视为树形数据。
渲染树形数据时,必须要指定 row-key。支持子节点数据异步加载。
通过指定 row 中的 hasChildren 字段来指定哪些行是包含子节点。children 与 hasChildren 都可以通过 tree-props 配置。
row-key="id"和:tree-props="{children: 'children', hasChildren: 'hasChildren'}是必须的。
数据表格区代码
<!-- 表格数据区-->
<el-table
v-if="refreshTable"
v-loading="loading"
:data="deptList"
row-key="id"
:default-expand-all="isExpandAll"
:tree-props="{children: 'children', hasChildren: 'hasChildren'}"
>
<el-table-column prop="deptName" label="部门名称" width="260"></el-table-column>
<el-table-column prop="orderNum" label="排序" width="200"></el-table-column>
......
......
......
</el-table>
数据的格式
数据必须要有 children,例如下面的代码,就是树形表格数据的地方,我们伪造了一点数据,也是可以展示的。
// 表格树数据
deptList: [
{
id: "1",
deptName: "若依科技",
deptStatus: 1,
superiorId: "0",
orderNum: 1,
ancestors: "0",
createTime: "2023-07-18 08:49:56",
leaderId: "1678651668064612354",
children: [{
id: "1",
deptName: "若依科技",
deptStatus: 1,
superiorId: "0",
orderNum: 1,
ancestors: "0",
createTime: "2023-07-18 08:49:56",
leaderId: "1678651668064612354",
}]
},
],
伪造的代码 的效果如下图
伪造数据效果图
后端返回代码格式
我们项目中返回的数据是下面代码,只需要将后端返回的data 与前端的表格绑定即可
{
"status": 0,
"data": [
{
"id": "1",
"deptName": "若依科技",
"deptStatus": 1,
"superiorId": "0",
"orderNum": 1,
"ancestors": "0",
"createTime": "2023-07-18 08:49:56",
"leaderId": "1678651668064612354",
"children": [
{
"id": "2",
"deptName": "深圳总公司",
"deptStatus": 1,
"superiorId": "1",
"orderNum": 1,
"ancestors": "1",
"createTime": "2023-07-18 08:50:35",
"leaderId": "1678651883026886657",
"children": [
{
"id": "4",
"deptName": "研发部门",
"deptStatus": 1,
"superiorId": "2",
"orderNum": 1,
"ancestors": "1,2",
"createTime": "2023-07-18 08:53:09",
"leaderId": "1679386932135268353"
},
{
"id": "5",
"deptName": "市场部门",
"deptStatus": 1,
"superiorId": "2",
"orderNum": 2,
"ancestors": "1,2",
"createTime": "2023-07-18 08:53:43",
"leaderId": "1681179955059970050"
},
{
"id": "6",
"deptName": "测试部门",
"deptStatus": 1,
"superiorId": "2",
"orderNum": 3,
"ancestors": "1,2",
"createTime": "2023-07-18 08:54:06",
"leaderId": "1681181469627338754"
},
{
"id": "1683401601626902529",
"deptName": "新的部门",
"deptStatus": 0,
"superiorId": "2",
"orderNum": 4,
"ancestors": "1,2",
"createTime": "2023-07-24 16:59:53",
"leaderId": "1679386932135268353"
}
]
},
{
"id": "3",
"deptName": "长沙分公司",
"deptStatus": 1,
"superiorId": "1",
"orderNum": 2,
"ancestors": "1",
"createTime": "2023-07-18 08:51:43",
"leaderId": "1679385454339403778",
"children": [
{
"id": "7",
"deptName": "市场部门",
"deptStatus": 1,
"superiorId": "3",
"orderNum": 1,
"ancestors": "1,3",
"createTime": "2023-07-18 08:54:26",
"leaderId": "1681181510534385666"
}
]
}
]
}
],
"success": true
}
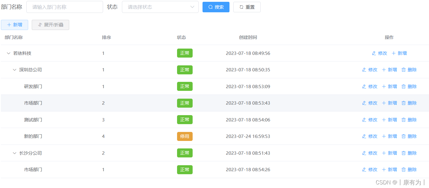
真实数据效果图
前端全部代码
不建议直接看此处代码,写的杂而乱,建议先去看前面的简洁的代码
<template>
<!--与若依相比修改的地方:
所有的parentId 修改成 superiorId
所有的 deptId 修改成 id
所有的 status 修改成 deptStatus
-->
<div class="app-container">
<!-- 头部搜索区-->
<el-form :model="queryParams" ref="queryForm" size="small" :inline="true" v-show="showSearch">
<el-form-item label="部门名称" prop="deptName">
<el-input
v-model="queryParams.deptName"
placeholder="请输入部门名称"
clearable
@keyup.enter.native="handleQuery"
/>
</el-form-item>
<el-form-item label="状态" prop="deptStatus">
<el-select v-model="queryParams.deptStatus" placeholder="请选择状态">
<el-option
v-for="item in statusOptions"
:key="item.value"
:label="item.label"
:value="item.value">
</el-option>
</el-select>
</el-form-item>
<el-form-item>
<el-button type="primary" icon="el-icon-search" size="mini" @click="handleQuery">搜索</el-button>
<el-button icon="el-icon-refresh" size="mini" @click="resetQuery">重置</el-button>
</el-form-item>
</el-form>
<!-- 展开折叠、搜索区-->
<el-row :gutter="10" class="mb8">
<el-col :span="1.5">
<el-button
type="primary"
plain
icon="el-icon-plus"
size="mini"
@click="handleAdd"
v-hasPermi="['system:dept:add']"
>新增</el-button>
</el-col>
<el-col :span="1.5">
<el-button
type="info"
plain
icon="el-icon-sort"
size="mini"
@click="toggleExpandAll"
>展开/折叠</el-button>
</el-col>
<right-toolbar :showSearch.sync="showSearch" @queryTable="getList"></right-toolbar>
</el-row>
<!-- 表格数据区-->
<el-table
v-if="refreshTable"
v-loading="loading"
:data="deptList"
row-key="id"
:default-expand-all="isExpandAll"
:tree-props="{children: 'children', hasChildren: 'hasChildren'}"
>
<el-table-column prop="deptName" label="部门名称" width="260"></el-table-column>
<el-table-column prop="orderNum" label="排序" width="200"></el-table-column>
<el-table-column prop="deptStatus" label="状态" width="100">
<!-- <template slot-scope="scope">-->
<!-- <dict-tag :options="dict.type.sys_normal_disable" :value="scope.row.status"/>-->
<!-- </template>-->
<template slot-scope="scope">
<el-tag type="success" effect="dark" v-if="scope.row.deptStatus==1">正常</el-tag>
<el-tag type="warning" effect="dark" v-if="scope.row.deptStatus==0">停用</el-tag>
</template>
</el-table-column>
<el-table-column label="创建时间" align="center" prop="createTime" width="200">
<template slot-scope="scope">
<span>{{ parseTime(scope.row.createTime) }}</span>
</template>
</el-table-column>
<el-table-column label="操作" align="center" class-name="small-padding fixed-width">
<template slot-scope="scope">
<el-button
size="mini"
type="text"
icon="el-icon-edit"
@click="handleUpdate(scope.row)"
v-hasPermi="['system:dept:edit']"
>修改</el-button>
<el-button
size="mini"
type="text"
icon="el-icon-plus"
@click="handleAdd(scope.row)"
v-hasPermi="['system:dept:add']"
>新增</el-button>
<el-button
v-if="scope.row.superiorId != 0"
size="mini"
type="text"
icon="el-icon-delete"
@click="handleDelete(scope.row)"
v-hasPermi="['system:dept:remove']"
>删除</el-button>
</template>
</el-table-column>
</el-table>
<!-- 添加或修改部门对话框 -->
<el-dialog :title="title" :visible.sync="open" width="600px" append-to-body>
<el-form ref="form" :model="form" :rules="rules" label-width="80px">
<el-row>
<el-col :span="24" v-if="form.superiorId !== 0">
<el-form-item label="上级部门" prop="superiorId">
<!-- <treeselect v-model="form.parentId" :options="deptOptions" :normalizer="normalizer" placeholder="选择上级部门" />-->
<el-input v-model="form.superiorId" placeholder="请输入上级部门id" />
</el-form-item>
</el-col>
</el-row>
<el-row>
<el-col :span="12">
<el-form-item label="部门名称" prop="deptName">
<el-input v-model="form.deptName" placeholder="请输入部门名称" />
</el-form-item>
</el-col>
<el-col :span="12">
<el-form-item label="显示排序" prop="orderNum">
<el-input-number v-model="form.orderNum" controls-position="right" :min="0" />
</el-form-item>
</el-col>
</el-row>
<!-- 负责人信息只做显示,不可修改-->
<el-row>
<!-- <el-col :span="12">-->
<!-- <el-form-item label="负责人id" prop="leader">-->
<!-- <el-input v-model="form.leaderId" placeholder="请输入负责人id" maxlength="20" :disabled="true" />-->
<!-- </el-form-item>-->
<!-- </el-col>-->
<el-col :span="12">
<el-form-item label="负责人姓名" prop="leader">
<el-input v-model="form.userName" placeholder="请输入负责人姓名" maxlength="20" :disabled="true" />
</el-form-item>
</el-col>
<el-col :span="12">
<el-form-item label="联系电话" prop="phone">
<el-input v-model="form.phone" placeholder="请输入联系电话" maxlength="11" :disabled="true"/>
</el-form-item>
</el-col>
</el-row>
<el-row>
<el-col :span="12">
<el-form-item label="邮箱" prop="email">
<el-input v-model="form.email" placeholder="请输入邮箱" maxlength="50" :disabled="true"/>
</el-form-item>
</el-col>
<el-col :span="12">
<el-form-item label="部门状态" prop="email">
<el-input v-model="form.deptStatus" placeholder="请输入部门状态" maxlength="50" :disabled="true"/>
</el-form-item>
</el-col>
<el-form-item label="状态" prop="deptStatus">
<el-select v-model="form.deptStatus" placeholder="请选择状态">
<el-option
v-for="item in statusOptions"
:key="item.value"
:label="item.label"
:value="item.value">
</el-option>
</el-select>
</el-form-item>
<!-- <el-col :span="12">-->
<!-- <el-form-item label="部门状态">-->
<!-- <el-switch-->
<!-- v-model="form.deptStatus"-->
<!-- active-value="1"-->
<!-- inactive-value="0"-->
<!-- active-color="#13ce66"-->
<!-- inactive-color="#ff4949">-->
<!-- </el-switch>-->
<!-- <el-radio v-model="form.deptStatus" label="1" >正常</el-radio>-->
<!-- <el-radio v-model="form.deptStatus" label="0" >停用</el-radio>-->
<!-- </el-form-item>-->
<!-- </el-col>-->
</el-row>
</el-form>
<div slot="footer" class="dialog-footer">
<el-button type="primary" @click="submitForm">确 定</el-button>
<el-button @click="cancel">取 消</el-button>
</div>
</el-dialog>
</div>
</template>
<script>
// import { listDept, getDept, delDept, addDept, updateDept, listDeptExcludeChild } from "@/api/system/dept";
import Treeselect from "@riophae/vue-treeselect";
import "@riophae/vue-treeselect/dist/vue-treeselect.css";
import axios from 'axios'
export default {
name: "Dept",
dicts: ['sys_normal_disable'],
components: { Treeselect },
data() {
return {
urls:{
listDept2:'/dept/list',// 查询部门列表:普通
listDept:'/dept/getDeptTree',// 查询部门列表:树形
addDept:'/dept/insert', // 新增部门
delDept: '/dept/delete/',// 删除部门
updateDept:'/dept/update',// 修改部门
selectDeptById:'/dept/selectDeptById',// 根据id查询
getDept:'/system/dept/',// 查询部门详细
listDeptExcludeChild:'/user/add', // 查询部门列表(排除节点)
},
statusOptions:[
{
value: '0',
label: '停用'
},
{
value: '1',
label: '正常'
},
],
//区分提交按钮:有提交id 就是修改,没有就是添加,因为修改需要id,添加不需要id
submitId: undefined,
// 遮罩层
loading: false,
// 显示搜索条件
showSearch: true,
// 表格树数据
deptList: [
{
// id: "1",
// deptName: "若依科技",
// deptStatus: 1,
// superiorId: "0",
// orderNum: 1,
// ancestors: "0",
// createTime: "2023-07-18 08:49:56",
// leaderId: "1678651668064612354",
//
// children: [{
// id: "1",
// deptName: "若依科技",
// deptStatus: 1,
// superiorId: "0",
// orderNum: 1,
// ancestors: "0",
// createTime: "2023-07-18 08:49:56",
// leaderId: "1678651668064612354",
// }]
},
],
// 部门树选项
deptOptions: [],
// 弹出层标题
title: "",
// 是否显示弹出层
open: false,
// 是否展开,默认全部展开
isExpandAll: true,
// 重新渲染表格状态
refreshTable: true,
// 查询参数
queryParams: {
deptName: undefined,
deptStatus: undefined,
},
// 表单参数
form: {
},
// 表单校验
rules: {
// parentId: [
superiorId: [
{ required: true, message: "上级部门不能为空", trigger: "blur" }
],
deptName: [
{ required: true, message: "部门名称不能为空", trigger: "blur" }
],
orderNum: [
{ required: true, message: "显示排序不能为空", trigger: "blur" }
],
// email: [
// {
// type: "email",
// message: "请输入正确的邮箱地址",
// trigger: ["blur", "change"]
// }
// ],
// phone: [
// {
// pattern: /^1[3|4|5|6|7|8|9][0-9]\d{8}$/,
// message: "请输入正确的手机号码",
// trigger: "blur"
// }
// ]
}
};
},
created() {
this.getList();
},
methods: {
/** 查询部门列表:查出树形结构 */
getList() {
axios({
method:"get",
url:this.urls.listDept,
params: {
deptName : this.queryParams.deptName,
deptStatus : this.queryParams.deptStatus,
}
}).then(res => {
this.deptList = res.data.data;
}
);
},
/** 转换部门数据结构 */
normalizer(node) {
if (node.children && !node.children.length) {
delete node.children;
}
return {
// id: node.deptId,
id: node.id,
label: node.deptName,
children: node.children
};
},
// 取消按钮
cancel() {
this.open = false;
this.reset();
},
// 表单重置
reset() {
//添加、修改 框数据清空
this.form = {
// deptId: undefined,
// parentId: undefined,
id: undefined,
superiorId: undefined,
deptName: undefined,
orderNum: undefined,
leader: undefined,
phone: undefined,
email: undefined,
deptStatus: undefined,
};
// this.resetForm("form");
//搜索框 数据清空
this.queryParams = {
deptName: undefined,
deptStatus: ' ',
};
},
/** 搜索按钮操作 */
handleQuery() {
// this.getList();
//搜索功能没有做树形结构,按照普通结构来的
//先清空表格数据
this.deptList = undefined;
axios({
method:"get",
url:this.urls.listDept2,
params: {
deptName : this.queryParams.deptName,
deptStatus : this.queryParams.deptStatus,
}
}).then(res => {
this.deptList = res.data.data;
}
);
},
/** 重置按钮操作 */
resetQuery() {
this.queryParams = {
deptName: undefined,
deptStatus: undefined,
};
this.getList();
},
/** 新增 添加 按钮操作 */
handleAdd(row) {
this.reset();//表单重置
//将 提交按钮 存的id清空了
this.submitId = undefined
if (row != undefined) {
// this.form.parentId = row.deptId;
this.form.superiorId = row.id;
}
this.open = true;
this.title = "添加部门";
},
/** 展开/折叠操作 */
toggleExpandAll() {
this.refreshTable = false;
this.isExpandAll = !this.isExpandAll;
this.$nextTick(() => {
this.refreshTable = true;
});
},
/** 修改按钮操作 */
handleUpdate(row) {
// this.reset();
this.submitId = row.id;
//先拿着部门id去查询出来这条数据,并连带这将他的负责人信息查询出来,再把数据赋给form
axios({
method:"get",
url:this.urls.selectDeptById,
params: {
id : row.id,
}
}).then(res => {
//查询成功后复制给 修改弹框
this.form = res.data.data;
}
);
this.open = true;
this.title = "修改部门";
},
/** 提交按钮 */
submitForm: function() {
this.$refs["form"].validate(valid => {
if (valid) {
if (this.submitId != undefined) {//是修改,不是添加
axios({
method:"post",
url:this.urls.updateDept,
data: {
id:this.submitId,
deptName:this.form.deptName,
leaderId:this.form.leaderId,
// 修改的状态怎么 单选框?
deptStatus:this.form.deptStatus,
superiorId:this.form.superiorId,
ancestors:this.form.ancestors,
orderNum:this.form.orderNum,
}
}).then(res => {
this.$message({
type: 'success',
message: '修改成功!'
});
this.open = false;
this.getList();
}
);
} else {//添加
axios({
method:"post",
url:this.urls.addDept,
data: {
deptName:this.form.deptName,
//负责人id???直接从查询的数据中取
leaderId:this.form.leaderId,
deptStatus:this.form.deptStatus,
superiorId:this.form.superiorId,
ancestors:this.form.ancestors,
orderNum:this.form.orderNum,
}
}).then(res => {
this.$message({
type: 'success',
message: '添加成功!'
});
this.open = false;
this.getList();
}
);
}
}
});
},
/** 删除按钮操作 */
handleDelete(row) {
this.$confirm('是否删除选中的所有部门?删除后无法恢复!', '提示', {
confirmButtonText: '确定',
cancelButtonText: '取消',
type: 'warning'
}).then(() => {
axios({
method:"get",
url:this.urls.delDept,
params: {
id : row.id,
}
}).then(res => {
if(res.data.deptStatus===0){
this.getList();
this.$message({
type: 'success',
message: '删除成功!'
});
}else{
this.$message({
type: 'error',
message: res.data.msg
});
}
}
);
}).catch(() => {});
},
//时间解析
parseTime(time, pattern) {
if (arguments.length === 0 || !time) {
return null
}
const format = pattern || '{y}-{m}-{d} {h}:{i}:{s}'
let date
if (typeof time === 'object') {
date = time
} else {
if ((typeof time === 'string') && (/^[0-9]+$/.test(time))) {
time = parseInt(time)
} else if (typeof time === 'string') {
time = time.replace(new RegExp(/-/gm), '/').replace('T', ' ').replace(new RegExp(/\.[\d]{3}/gm), '');
}
if ((typeof time === 'number') && (time.toString().length === 10)) {
time = time * 1000
}
date = new Date(time)
}
const formatObj = {
y: date.getFullYear(),
m: date.getMonth() + 1,
d: date.getDate(),
h: date.getHours(),
i: date.getMinutes(),
s: date.getSeconds(),
a: date.getDay()
}
const time_str = format.replace(/{(y|m|d|h|i|s|a)+}/g, (result, key) => {
let value = formatObj[key]
// Note: getDay() returns 0 on Sunday
if (key === 'a') { return ['日', '一', '二', '三', '四', '五', '六'][value] }
if (result.length > 0 && value < 10) {
value = '0' + value
}
return value || 0
})
return time_str
},
}
};
</script>




A Vue.js 2.0 UI Toolkit for Web
最近提交(Master分支:27 天前 )
c345bb45
1 年前
a07f3a59
* Update transition.md
* Update table.md
* Update transition.md
* Update table.md
* Update transition.md
* Update table.md
* Update table.md
* Update transition.md
* Update popover.md 1 年前
更多推荐
所有评论(0)