Skywalking简单入门使用
🏆今日学习目标:
🍀Skywalking简单入门使用
✅创作者:林在闪闪发光
⏰预计时间:50分钟
🎉个人主页:林在闪闪发光的个人主页
🍁林在闪闪发光的个人社区,欢迎你的加入: 林在闪闪发光的社区
目录
简介
Skywalking是一个国产的开源框架,2015年有吴晟个人开源,2017年加入Apache孵化器,国人开源的产品,主要开发人员来自于华为,2019年4月17日Apache董事会批准SkyWalking成为顶级项目,支持Java、.Net、NodeJs等探针,数据存储支持Mysql、Elasticsearch等,跟Pinpoint一样采用字节码注入的方式实现代码的无侵入,探针采集数据粒度粗,但性能表现优秀,且对云原生支持,目前增长势头强劲,社区活跃。
Skywalking是分布式系统的应用程序性能监视工具,专为微服务,云原生架构和基于容器(Docker,K8S,Mesos)架构而设计,它是一款优秀的APM(Application Performance Management)工具,包括了分布式追踪,性能指标分析和服务依赖分析等。
官网:https://skywalking.apache.org/
Skywalking架构
SkyWalking 逻辑上分为四部分: 探针, 平台后端, 存储和用户界面。
探针 基于不同的来源可能是不一样的, 但作用都是收集数据, 将数据格式化为 SkyWalking 适用的格式.
平台后端, 支持数据聚合, 数据分析以及驱动数据流从探针到用户界面的流程。分析包括 Skywalking 原生追踪和性能指标以及第三方来源,包括 Istio 及 Envoy telemetry , Zipkin 追踪格式化等。
存储 通过开放的插件化的接口存放 SkyWalking 数据. 你可以选择一个既有的存储系统, 如 ElasticSearch, H2 或 MySQL 集群(Sharding-Sphere 管理),也可以选择自己实现一个存储系统. 当然, 我们非常欢迎你贡献新的存储系统实现。
UI 一个基于接口高度定制化的Web系统,用户可以可视化查看和管理 SkyWalking 数据。
部署安装
多种方式,只给出docker部署的docker-compose例子,其他的自行在官网查找。
存储使用的是es7,同时将oap注册到了nacos
version: '2'
services:
elasticsearch:
image: elasticsearch:7.14.2
container_name: elasticsearch
restart: always
ports:
- 9200:9200
environment:
- "TAKE_FILE_OWNERSHIP=true" # volumes 挂载权限 如果不想要挂载es文件改配置可以删除
- "discovery.type=single-node" #单机模式启动
- "TZ=Asia/Shanghai" # 设置时区
- "ES_JAVA_OPTS=-Xms512m -Xmx512m" # 设置jvm内存大小
volumes:
- /data/skywalking/elasticsearch/logs:/usr/share/elasticsearch/logs
- /data/skywalking/elasticsearch/data:/usr/share/elasticsearch/data
ulimits:
memlock:
soft: -1
hard: -1
skywalking-oap-server:
image: apache/skywalking-oap-server:8.9.1
container_name: skywalking-oap-server
depends_on:
- elasticsearch
links:
- elasticsearch
restart: always
ports:
- 11800:11800
- 12800:12800
environment:
#此处的参数为容器里/skywalking/config/application.yml的配置
SW_STORAGE: elasticsearch # 指定ES版本
SW_STORAGE_ES_CLUSTER_NODES: elasticsearch:9200
SW_CLUSTER: nacos
SW_SERVICE_NAME: skywalking-oap-server
SW_CLUSTER_NACOS_HOST_PORT: 192.168.0.200
SW_CLUSTER_NACOS_NAMESPACE: dev
TZ: Asia/Shanghai
skywalking-ui:
image: apache/skywalking-ui:8.9.1
container_name: skywalking-ui
depends_on:
- skywalking-oap-server
links:
- skywalking-oap-server
restart: always
ports:
- 8080:8080
environment:
SW_OAP_ADDRESS: http://skywalking-oap-server:12800
TZ: Asia/Shanghai
UI界面说明
- 仪表盘:查看被监控服务的运行状态
- 拓扑图:以拓扑图的方式展现服务直接的关系,并以此为入口查看相关信息
- 追踪:以接口列表的方式展现,追踪接口内部调用过程
- 性能剖析:单独端点进行采样分析,并可查看堆栈信息
- 告警:触发告警的告警列表,包括实例,请求超时等。
- 事件:
- 调试:
仪表盘
仪表盘分为:全局(Global)、服务(Service)、实例(Instance)、端点(Endpoint)四个维度
- Global全局维度

Services load:服务每分钟请求数
Slow Services:慢响应服务,单位ms
Un-Health services(Apdex):Apdex性能指标,1为满分。
Global Response Latency:百分比响应延时,不同百分比的延时时间,单位ms
Global Heatmap:服务响应时间热力分布图,根据时间段内不同响应时间的数量显示颜色深度
- Service服务维度

Service Apdex(数字):当前服务的评分
Service Apdex(折线图):不同时间的Apdex评分
Successful Rate(数字):请求成功率
Successful Rate(折线图):不同时间的请求成功率
Servce Load(数字):每分钟请求数
Servce Load(折线图):不同时间的每分钟请求数
Service Avg Response Times:平均响应延时,单位ms
Global Response Time Percentile:百分比响应延时
Servce Instances Load:每个服务实例的每分钟请求数
Show Service Instance:每个服务实例的最大延时
Service Instance Successful Rate:每个服务实例的请求成功率
- Instance实例维度

Service Instance Load:当前实例的每分钟请求数
Service Instance Successful Rate:当前实例的请求成功率
Service Instance Latency:当前实例的响应延时
JVM CPU:jvm占用CPU的百分比
JVM Memory:JVM内存占用大小,单位m
JVM GC Time:JVM垃圾回收时间,包含YGC和OGC
JVM GC Count:JVM垃圾回收次数,包含YGC和OGC
CLR XX:类似JVM虚拟机,这里用不上就不做解释了
- Endpoint端点维度

Endpoint Load in Current Service:每个端点的每分钟请求数
Slow Endpoints in Current Service:每个端点的最慢请求时间,单位ms
Successful Rate in Current Service:每个端点的请求成功率
Endpoint Load:当前端点每个时间段的请求数据
Endpoint Avg Response Time:当前端点每个时间段的请求行响应时间
Endpoint Response Time Percentile:当前端点每个时间段的响应时间占比
Endpoint Successful Rate:当前端点每个时间段的请求成功率
界面上的指标可以做一些自定义的调整(更换图表、统计数量等),也可以增加自定义指标(应该是要二开)

拓扑图

点击具体的服务,右侧将显示服务的状态,服务周边出现触点;点击连线,将会显示服务之间的连接情况

追踪

- 左侧:api接口列表,红色-异常请求,蓝色-正常请求
- 右侧:api追踪列表,api请求连接各端点的先后顺序和时间
日志

点击可查看具体的日志,同一追踪id表明是同一个请求

告警
对于服务的异常信息,比如接口有较长延迟,skywalking也做出了告警功能,如下图:

skywalking中有一些默认的告警规则,如下:
- 最近3分钟内服务的平均响应时间超过1秒
- 最近2分钟服务成功率低于80%
- 最近3分钟90%服务响应时间超过1秒
- 最近2分钟内服务实例的平均响应时间超过1秒
当然除了以上四种,随着Skywalking不断迭代也会新增其他规则,这些规则的配置在config/alarm-settings.yml配置文件中
# Licensed to the Apache Software Foundation (ASF) under one
# or more contributor license agreements. See the NOTICE file
# distributed with this work for additional information
# regarding copyright ownership. The ASF licenses this file
# to you under the Apache License, Version 2.0 (the
# "License"); you may not use this file except in compliance
# with the License. You may obtain a copy of the License at
#
# http://www.apache.org/licenses/LICENSE-2.0
#
# Unless required by applicable law or agreed to in writing, software
# distributed under the License is distributed on an "AS IS" BASIS,
# WITHOUT WARRANTIES OR CONDITIONS OF ANY KIND, either express or implied.
# See the License for the specific language governing permissions and
# limitations under the License.
# Sample alarm rules.
rules:
# Rule unique name, must be ended with `_rule`.
service_resp_time_rule:
metrics-name: service_resp_time
op: ">"
threshold: 1000
period: 10
count: 3
silence-period: 5
message: Response time of service {name} is more than 1000ms in 3 minutes of last 10 minutes.
service_sla_rule:
# Metrics value need to be long, double or int
metrics-name: service_sla
op: "<"
threshold: 8000
# The length of time to evaluate the metrics
period: 10
# How many times after the metrics match the condition, will trigger alarm
count: 2
# How many times of checks, the alarm keeps silence after alarm triggered, default as same as period.
silence-period: 3
message: Successful rate of service {name} is lower than 80% in 2 minutes of last 10 minutes
service_resp_time_percentile_rule:
# Metrics value need to be long, double or int
metrics-name: service_percentile
op: ">"
threshold: 1000,1000,1000,1000,1000
period: 10
count: 3
silence-period: 5
message: Percentile response time of service {name} alarm in 3 minutes of last 10 minutes, due to more than one condition of p50 > 1000, p75 > 1000, p90 > 1000, p95 > 1000, p99 > 1000
service_instance_resp_time_rule:
metrics-name: service_instance_resp_time
op: ">"
threshold: 1000
period: 10
count: 2
silence-period: 5
message: Response time of service instance {name} is more than 1000ms in 2 minutes of last 10 minutes
database_access_resp_time_rule:
metrics-name: database_access_resp_time
threshold: 1000
op: ">"
period: 10
count: 2
message: Response time of database access {name} is more than 1000ms in 2 minutes of last 10 minutes
endpoint_relation_resp_time_rule:
metrics-name: endpoint_relation_resp_time
threshold: 1000
op: ">"
period: 10
count: 2
message: Response time of endpoint relation {name} is more than 1000ms in 2 minutes of last 10 minutes# Active endpoint related metrics alarm will cost more memory than service and service instance metrics alarm.
# Because the number of endpoint is much more than service and instance.
#
# endpoint_avg_rule:
# metrics-name: endpoint_avg
# op: ">"
# threshold: 1000
# period: 10
# count: 2
# silence-period: 5
# message: Response time of endpoint {name} is more than 1000ms in 2 minutes of last 10 minutes
webhooks:
# - http://127.0.0.1/notify/
# - http://127.0.0.1/go-wechat/
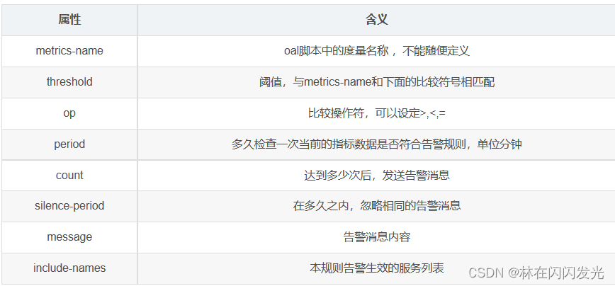
规则中的参数属性解释
Rule name。在告警信息中显示的唯一名称。必须以_rule结尾。规则命名用户自定义

metrics-name是oal脚本中的度量名。详细参数可见\config\oal\core.oal文件:
/*
* Licensed to the Apache Software Foundation (ASF) under one or more
* contributor license agreements. See the NOTICE file distributed with
* this work for additional information regarding copyright ownership.
* The ASF licenses this file to You under the Apache License, Version 2.0
* (the "License"); you may not use this file except in compliance with
* the License. You may obtain a copy of the License at
*
* http://www.apache.org/licenses/LICENSE-2.0
*
* Unless required by applicable law or agreed to in writing, software
* distributed under the License is distributed on an "AS IS" BASIS,
* WITHOUT WARRANTIES OR CONDITIONS OF ANY KIND, either express or implied.
* See the License for the specific language governing permissions and
* limitations under the License.
*
*/// For services using protocols HTTP 1/2, gRPC, RPC, etc., the cpm metrics means "calls per minute",
// for services that are built on top of TCP, the cpm means "packages per minute".// All scope metrics
all_percentile = from(All.latency).percentile(10); // Multiple values including p50, p75, p90, p95, p99
all_heatmap = from(All.latency).histogram(100, 20);// Service scope metrics
service_resp_time = from(Service.latency).longAvg();
service_sla = from(Service.*).percent(status == true);
service_cpm = from(Service.*).cpm();
service_percentile = from(Service.latency).percentile(10); // Multiple values including p50, p75, p90, p95, p99
service_apdex = from(Service.latency).apdex(name, status);
service_mq_consume_count = from(Service.*).filter(type == RequestType.MQ).count();
service_mq_consume_latency = from((str->long)Service.tag["transmission.latency"]).filter(type == RequestType.MQ).filter(tag["transmission.latency"] != null).longAvg();// Service relation scope metrics for topology
service_relation_client_cpm = from(ServiceRelation.*).filter(detectPoint == DetectPoint.CLIENT).cpm();
service_relation_server_cpm = from(ServiceRelation.*).filter(detectPoint == DetectPoint.SERVER).cpm();
service_relation_client_call_sla = from(ServiceRelation.*).filter(detectPoint == DetectPoint.CLIENT).percent(status == true);
service_relation_server_call_sla = from(ServiceRelation.*).filter(detectPoint == DetectPoint.SERVER).percent(status == true);
service_relation_client_resp_time = from(ServiceRelation.latency).filter(detectPoint == DetectPoint.CLIENT).longAvg();
service_relation_server_resp_time = from(ServiceRelation.latency).filter(detectPoint == DetectPoint.SERVER).longAvg();
service_relation_client_percentile = from(ServiceRelation.latency).filter(detectPoint == DetectPoint.CLIENT).percentile(10); // Multiple values including p50, p75, p90, p95, p99
service_relation_server_percentile = from(ServiceRelation.latency).filter(detectPoint == DetectPoint.SERVER).percentile(10); // Multiple values including p50, p75, p90, p95, p99// Service Instance relation scope metrics for topology
service_instance_relation_client_cpm = from(ServiceInstanceRelation.*).filter(detectPoint == DetectPoint.CLIENT).cpm();
service_instance_relation_server_cpm = from(ServiceInstanceRelation.*).filter(detectPoint == DetectPoint.SERVER).cpm();
service_instance_relation_client_call_sla = from(ServiceInstanceRelation.*).filter(detectPoint == DetectPoint.CLIENT).percent(status == true);
service_instance_relation_server_call_sla = from(ServiceInstanceRelation.*).filter(detectPoint == DetectPoint.SERVER).percent(status == true);
service_instance_relation_client_resp_time = from(ServiceInstanceRelation.latency).filter(detectPoint == DetectPoint.CLIENT).longAvg();
service_instance_relation_server_resp_time = from(ServiceInstanceRelation.latency).filter(detectPoint == DetectPoint.SERVER).longAvg();
service_instance_relation_client_percentile = from(ServiceInstanceRelation.latency).filter(detectPoint == DetectPoint.CLIENT).percentile(10); // Multiple values including p50, p75, p90, p95, p99
service_instance_relation_server_percentile = from(ServiceInstanceRelation.latency).filter(detectPoint == DetectPoint.SERVER).percentile(10); // Multiple values including p50, p75, p90, p95, p99// Service Instance Scope metrics
service_instance_sla = from(ServiceInstance.*).percent(status == true);
service_instance_resp_time= from(ServiceInstance.latency).longAvg();
service_instance_cpm = from(ServiceInstance.*).cpm();// Endpoint scope metrics
endpoint_cpm = from(Endpoint.*).cpm();
endpoint_avg = from(Endpoint.latency).longAvg();
endpoint_sla = from(Endpoint.*).percent(status == true);
endpoint_percentile = from(Endpoint.latency).percentile(10); // Multiple values including p50, p75, p90, p95, p99
endpoint_mq_consume_count = from(Endpoint.*).filter(type == RequestType.MQ).count();
endpoint_mq_consume_latency = from((str->long)Endpoint.tag["transmission.latency"]).filter(type == RequestType.MQ).filter(tag["transmission.latency"] != null).longAvg();// Endpoint relation scope metrics
endpoint_relation_cpm = from(EndpointRelation.*).filter(detectPoint == DetectPoint.SERVER).cpm();
endpoint_relation_resp_time = from(EndpointRelation.rpcLatency).filter(detectPoint == DetectPoint.SERVER).longAvg();
endpoint_relation_sla = from(EndpointRelation.*).filter(detectPoint == DetectPoint.SERVER).percent(status == true);
endpoint_relation_percentile = from(EndpointRelation.rpcLatency).filter(detectPoint == DetectPoint.SERVER).percentile(10); // Multiple values including p50, p75, p90, p95, p99database_access_resp_time = from(DatabaseAccess.latency).longAvg();
database_access_sla = from(DatabaseAccess.*).percent(status == true);
database_access_cpm = from(DatabaseAccess.*).cpm();
database_access_percentile = from(DatabaseAccess.latency).percentile(10);
如果想要调整默认的规则,比如监控返回的信息,监控的参数等等,只需要改动上述配置文件中的参数即可。
当然除了以上默认的几种规则,skywalking还适配了一些钩子(webhooks)。其实就是相当于一个回调,一旦触发了上述规则告警,skywalking则会调用配置的webhook,这样开发者就可以定制一些处理方法,比如发送邮件、微信、钉钉通知运维人员处理。
当然这个钩子也是有些规则的,如下:
POST请求
application/json 接收数据
接收的参数必须是AlarmMessage中指定的参数。
注意:AlarmMessage这个类随着skywalking版本的迭代可能出现不同,一定要到对应版本源码中去找到这个类,拷贝其中的属性。这个类在源码的路径:org.apache.skywalking.oap.server.core.alarm,如下图:
日志对接
在skywalking的UI端有一个日志的模块,用于收集客户端的日志,默认是没有数据的,那么需要如何将日志数据传输到skywalking中呢?
日志框架的种类很多,比较出名的有log4j,logback,log4j2,以springboot默认的logback为例子介绍一下如何配置,官方文档如下:
log4j:java-agent/application-toolkit-log4j-1.x/
log4j2:java-agent/application-toolkit-log4j-2.x/
logback:java-agent/application-toolkit-logback-1.x/
1、添加依赖
根据官方文档,需要先添加依赖,如下:
<dependency>
<groupId>org.apache.skywalking</groupId>
<artifactId>apm-toolkit-logback-1.x</artifactId>
<version>8.10.0</version>
</dependency>
2、添加配置文件
新建一个logback-spring.xml放在resource目录下,配置如下:
<?xml version="1.0" encoding="UTF-8"?>
<configuration scan="true" scanPeriod=" 5 seconds">
<appender name="STDOUT" class="ch.qos.logback.core.ConsoleAppender">
<encoder class="ch.qos.logback.core.encoder.LayoutWrappingEncoder">
<layout class="org.apache.skywalking.apm.toolkit.log.logback.v1.x.mdc.TraceIdMDCPatternLogbackLayout">
<Pattern>%d{yyyy-MM-dd HH:mm:ss.SSS} [%X{tid}] [%thread] %-5level %logger{36} -%msg%n</Pattern>
</layout>
</encoder>
</appender>
<appender name="ASYNC" class="ch.qos.logback.classic.AsyncAppender">
<discardingThreshold>0</discardingThreshold>
<queueSize>1024</queueSize>
<neverBlock>true</neverBlock>
<appender-ref ref="STDOUT"/>
</appender>
<appender name="grpc-log" class="org.apache.skywalking.apm.toolkit.log.logback.v1.x.log.GRPCLogClientAppender">
<encoder class="ch.qos.logback.core.encoder.LayoutWrappingEncoder">
<layout class="org.apache.skywalking.apm.toolkit.log.logback.v1.x.mdc.TraceIdMDCPatternLogbackLayout">
<Pattern>%d{yyyy-MM-dd HH:mm:ss.SSS} [%X{tid}] [%thread] %-5level %logger{36} -%msg%n</Pattern>
</layout>
</encoder>
</appender>
<root level="INFO">
<appender-ref ref="grpc-log" />
<appender-ref ref="ASYNC"/>
</root>
</configuration>
3、接入探针agent
https://archive.apache.org/dist/skywalking/java-agent/
根据Skywalking版本进行下载
- 配置VM options

-javaagent:D:\Java\plugin\apache-skywalking-java-agent-8.9.0\skywalking-agent\skywalking-agent.jar -Dskywalking.agent.service_name=log-demo-service2 -Dskywalking.collector.backend_service=192.168.0.203:11800

启动程序
会发现Skywalking里已经有了日志,与idea控制台的日志一致


调用接口


3)jar包使用探针
与idea一样,启动时配置VM options即可
java -javaagent:D:\Java\plugin\apache-skywalking-java-agent-8.9.0\skywalking-agent\skywalking-agent.jar -Dskywalking.agent.service_name=log-demo-service2 -Dskywalking.collector.backend_service=192.168.0.203:11800 -jar app.jar
4)docker使用探针
其实原理都一样,配置探针包的地址、配置skywalking服务端地址、配置服务名称。
有几种方式:
1、将外部的agent包,挂载到docker容器中,然后指定vm参数
2、构建docker时,把agent包打进docker镜像里,dockerfile修改enrtypoint,添加-javaagent参数
3、将agent包打到基础镜像里,dockerfile直接引用这个基础镜像
我采用第三种方式,而且这个基础镜像其实官方是有发布的,直接引用即可,但是只有几个版本,如果你的程序对jdk有要求,还是要采用其他方案,或者自己构建一个基础镜像。
在docker仓库里选择对应版本即可,镜像地址:https://hub.docker.com/r/apache/skywalking-java-agent,这个仓库是apache自己的,但是概述里有说明,这个不是ASF( Apache 软件基金会Apache Software Foundation)的官方版本
把这个替换到dockerfile中的FROM即可
FROM apache/skywalking-java-agent:8.9.0-java8
..
这个镜像自带探针包,无需指定探针包地址,那么其他两个参数怎么配置呢?
我是在docker-compose文件中配置了环境变量SW_AGENT_NAME与SW_AGENT_COLLECTOR_BACKEND_SERVICES
version: '2'
services:
log-demo-service1:
image: log-service1:0.0.1-SKYWALKING
container_name: log-demo-service-skywalking1
restart: always
ports:
- "8090:8090"
environment:
TZ: Asia/Shanghai
SW_AGENT_NAME: log-demo-service1
SW_AGENT_COLLECTOR_BACKEND_SERVICES: 192.168.0.203:11800
log-demo-service2:
image: log-service2:0.0.1-SKYWALKING
container_name: log-demo-service-skywalking2
restart: always
ports:
- "8091:8091"
environment:
TZ: Asia/Shanghai
SW_AGENT_NAME: log-demo-service2
SW_AGENT_COLLECTOR_BACKEND_SERVICES: 192.168.0.203:1180
这两个变量是取自探针的配置文件/agent/config/agent.config
agent.service_name=${SW_AGENT_NAME:Your_ApplicationName}
collector.backend_service=${SW_AGENT_COLLECTOR_BACKEND_SERVICES:127.0.0.1:11800}
其实就对应着2)和3)中配置的VM options的-Dskywalking.agent.service_name和-Dskywalking.collector.backend_service,所以2)和3)中配置环境变量也是可以的。
启动docker-compose,会发现比idea中多了一行,就是这个基础镜像自带的配置,定义了一个JAVA_TOOL_OPTIONS,在这个变量里指定了agent包的位置。


AtomGit 是由开放原子开源基金会联合 CSDN 等生态伙伴共同推出的新一代开源与人工智能协作平台。平台坚持“开放、中立、公益”的理念,把代码托管、模型共享、数据集托管、智能体开发体验和算力服务整合在一起,为开发者提供从开发、训练到部署的一站式体验。
更多推荐



所有评论(0)